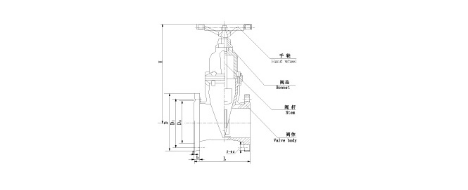
用途:軟密封閘閥,利用彈性閘板受力時產生的微量變形的補償作用,來達到良好的密封效果,使用時介質工作壓力不大于1MPa,溫度不高于80度,可廣泛應用于建筑、食品、醫藥、化工能源、給排水等行業,在管路和設備上作為調節和截流之用。
滬公網安備 31010702006119號